Главная / Каталог / Пневматическое оборудование / Распределительная пневмоаппаратура / Пневмораспределители 3-х и 5-и линейные с ножным управлением (пневмопедаль) 3Р-6-273-3,5Р-6-273-3

Пневмораспределители 3-х и 5-и линейные с ножным управлением (пневмопедаль) 3Р-6-273-3,5Р-6-273-3

Пневмораспределители 3-х и 5-и линейные с ножным управлением (пневмопедаль) 3Р-6-273-3,5Р-6-273-3

Назначение

Пневмопедали трех- и пятилинейные с условным проходом 6мм, двухпозиционные с пружинным возвратом предназначены для изменения потоков сжатого воздуха в пневмоприводах различного назначения.

Основные характеристики


Конструкция распределительного устройства - цилиндрический золотник.

Параметр Значения
Условный проход, мм 6
Тип присоединения Трубное, с конической присоединительной резьбой в корпусе распределителя
Присоединение пневмолиний К1/4"
Номинальное давление, МПа 1,0
Минимальное рабочее давление, МПа, не более 0,1
Усилие, необходимое для переключения, Н (кгс), не более 35 (3,5)
Пропускная способность, Кv, м3/ч, не менее 0,75
Масса, кг, не более 2,3

Варианты исполнения

Обозначение Варианты исполнения
ХР6-ХХХ-3
3-трехлинейный;
5-пятилинейный
ХР-6-ХХХ-3
Диаметр условного прохода, мм
ХР-6-ХХХ-3
Число позиций
ХР-6-ХХХ-3
Вид управления: 7-ножное
ХР-6-ХХХ-3
Способ управления: 3-одностороннее управление и пружинный возврат
ХР-6-ХХХ-3
Присоединение пневмолиний: 3-трубное с конической резьбой

Указания по применению

Пневмораспределители рассчитаны для работы на сжатом воздухе давлением от 0,1 до 1,0 МПа, очищенном не грубее 10 класса по ГОСТ 17433 и содержащем распыленное масло вязкостью 10-35 мм2/с при температуре 50оС с концентрацией 1-3 капли на 1м3 воздуха, приведенного к условиям ГОСТ 12449.
Допускается работа пневмораспределителей на сжатом воздухе, не содержащем распыленное масло.
Климатическое исполнение УХЛ и О, категория размещения 4 по ГОСТ 15150.
Виброустойчивость и вибропрочность должны соответствовать II степени жесткости по ГОСТ 28988.

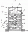
Цифры на чертеже, заключенные в скобки, соответствуют маркировке отверстий на изделии и нумерации каналов на пневмосхеме

Пример записи при заказе

Пример записи условного обозначения 5-ти линейной пневмопедали климатического исполнения УХЛ, категории размещения 4:
5Р-6-273-3 УХЛ4 ТУ2-053-002224842-027-92