Главная / Каталог / Пневматическое оборудование / Распределительная пневмоаппаратура / Пневмораспределители 4-х линейные 2-х позиционные В63-11А, В74-21А, В79-11А

Пневмораспределители 4-х линейные 2-х позиционные В63-11А, В74-21А, В79-11А

Пневмораспределители 4-х линейные 2-х позиционные В63-11А, В74-21А, В79-11А

Назначение

 

Пневмораспределители четырехлинейные с пневматическим, механопневматическим и механическим управлением предназначены для изменения направления потока сжатого воздуха в пневмоприводах различного назначения.

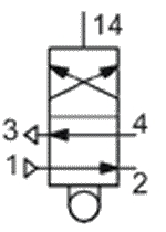
Функциональная схема исполнения пневмораспределителей - двухпозиционные четырехлинейные:
- с двусторонним пневматическим управлением В63-11А;
- с путевым односторонним управлением (толкатель с роликом) и пневматическим возвратом В74-21А;
- с путевым односторонним управлением с малым усилием (рычаг) и пружинным возвратом В79-11А.

Конструкция распределительного устройства - плоский золотник. Золотник может занимать одно из крайних положений.
Присоединение: К1/8", резьбовые отверстия в плите, трубы в стороны.

Основные характеристики

Параметр

Нормы для типоразмеров

В63-11А

В74-21А

В79-11А

Условный проход, мм

4

Присоединение

К 1/8"

Номинальное давление, МПа

0,63

1,0

1,0

Минимальное рабочее давление, МПа, не более

0,2

0,2

0,25

Пропускная способность, Кv, м3/ч, не менее

0,33

Усилие, необходимое для переключения, Н (кгс), не более

-

31 (3,1)

3,5 (0,35)

Максимальное число срабатываний, 1/мин, не менее

300

200

200

Минимальное давление управления, МПа, не более

0,16

0,16

-

Масса, кг

0,22

0,24

0,25

Указания по применению

Пневмораспределители рассчитаны для работы на сжатом воздухе давлением от 0,1 до 1,0 МПа, очищенном не грубее 10 класса по ГОСТ 17433 и содержащем распыленное масло вязкостью 10-35 мм2/с при температуре 50оС с концентрацией 2-4 капли на 1м3 воздуха, приведенного к условиям ГОСТ 12449.
Допускается работа пневмораспределителей на сжатом воздухе, не содержащем распыленное масло.
Климатическое исполнение УХЛ и О, категория размещения 4 по ГОСТ 15150.
Виброустойчивость и вибропрочность должны соответствовать II степени жесткости по ГОСТ 28988.

При установке пневмораспределителя В74-21А необходимо обеспечить полный ход ролика (6мм), а для пневмораспределителя В79-11А - в пределах 2,5-7,5 мм.

Устройство и работа

Общее устройство пневмораспределителей показано на примере распределителя с двухсторонним пневматическим управлением В63-11А. Цифры, заключённые в скобки, соответствуют маркировке отверстий на изделии и нумерации каналов на условном графическом обозначении.

Распределитель состоит из следующих основных деталей : корпус 1, плита 2, поршень 3, золотник 4, две крышки 5 и 6.
В качестве распределительного органа используется плоский притёртый золотник 4, связанный с поршнем 3, размещённым в корпусе 1. Золотник прижат к плите 2,в которой выполнены каналы: (2) и (4) – выходные, (3) – атмосферный, (1) – питания.

В пневмораспределителе В63-11А перемещение распределительного устройства из одного крайнего положения в другое осуществляется при подаче давления управления поочерёдно через каналы (12) и (14). В одном из крайних положений золотника (давление управления в канале (12)) сжатый воздух через канал (1) поступает в полость «а» и далее в выходной канал (2). При этом выходной канал (4), через выточку в золотнике, сообщается с атмосферным каналом (3).
В другом крайнем положении золотника (давление управления в канале (14)) воздух поступает в выходной канал (4), а выходной канал (2), через выточку в золотнике, сообщается с атмосферным каналом (3).

В пневмораспределителе В74-21А перемещение распределительного устройства из одного крайнего положения в другое обеспечивается воздействием на ролик, а возврат в исходное положение – подачей давления управления в канал (14) после снятия усилия на ролик.

В пневмораспределителе В79-11А при воздействии на ролик открывается клапан 7, сжатый воздух из полости управления «б» (со стороны рычага) через сопло «в» сбрасывается в атмосферу, а распределительное устройство перемещается из одного крайнего положения в другое (левое). После прекращения механического воздействия на ролик, клапан 7 под воздействием пружины 8 (под рычагом) закрывается, происходит выравнивание давлений в полостях «а», «б» и «г» пневмораспределителя, а распределительное устройство под действием пружины 9 возвращается в исходное положение (правое).

Пневмораспределители устанавливаются на обработанную плоскость и закрепляются двумя винтами М4. Монтаж распределителей должен осуществляться с обеспечением горизонтального положения оси распределителя.

Пример записи при заказе

Пример записи условного обозначения пневмораспределителя с управлением роликом и пневматическим возвратом климатического исполнения УХЛ, категории размещения 4:
Пневмораспределитель В74-21М УХЛ4